info@mehprivod.ru
ООО Мехтехника
Тел.: 8 (800) 505-36-88

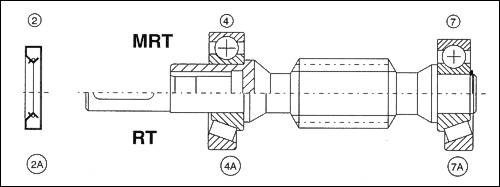
Наглядное изображение и запасные части редукторов RT/MRT

Наглядное изображение (внешний вид редуктора)

При заказе самостоятельных запасных частей к номеру и наименованию детали необходимо добавить также комплектное типовое обозначение.

Наглядное изображение и запасные части RT/MRT

Запасные части

Запасные части RT/MRT

1

червяк

7

подшипник червяка

2

маслостойкое уплотнение

8

предохран. кольцо

3

фланец электродвигателя

9

лапка (фланец)

4

подшипник червяка

10

червячное колесо

5

картер редуктора

11

маслостойкое уплотнение

6

крышка

12

подшипник червячного колеса

Вал червячного колеса может опираться на однорядные радиально-упорные подшипники, как указано для позиции 12. Такие подшипники способны передавать большие аксиальные и радиальные усилия, по сравнение с простыми шарикоподшипниками.

Вал червячного колеса

Подшипники 4-7 MRT, масляное уплотнение 2 и для RT подшипников 4А-7А и масляное уплотнение 2А

тип

электродвигатель IBC

MRT

RT

подшипник 4

подшипник 7

масляное уплотнение

подшипник 4A-7A

масляное уплотнение 2A

28

56

HK 2016

6200

20x30x7

6200

10x26x7

 

20x26x16

10x30x9

 

10x30x9

 

40

 

6004

 

 

 

 

56   63

20x42x12

6302

20x35x7

6302

15x26x7

71

61905

 

 

 

 

 

25x42x9

15x42x13

25x35x7

15x42x13

 

50

 

6005

 

 

 

 

63   71

25x47x12

6303

25x40x7

30303

17x35x7

80

61906

 

 

 

 

 

30x47x9

17x47x14

30x40x7

17x47x15,25

 

60

 

6006

 

 

 

 

63   71   80

30x55x13

6304

30x47x7

30304

20x35x7

90

61907

 

 

 

 

 

35x55x10

20x52x15

35x47x7

20x52x16,25

 

70

 

6006

 

 

 

 

71   80

30x55x13

6304

30x47x7

30304

20x35x7

90

61907

 

 

 

 

 

35x55x10

20x52x15

35x47x7

20x52x16,25

 

80

71    80

32007

30305

 

30305

25x40x7

90    100

35x62x18

25x62x18,25

35x50x7

25x62x18,25

 

100

80    90

32208

31307

 

32208   31307

 

100    112

40x80x24,75

35x80x22,75

40x62x12

40x80x24,75   35x80x22,75

40x62x8

120

90     100

32208

31307

 

32208   31307

 

112

40x80x24,75

35x80x22,75

40x62x12

40x80x24,75   35x80x22,75

40x62x8

150

100    112

32211

31309

 

31309

 

132

55x100x22,75

45x100x27,75

55x80x10

45x100x27,75

45x75x8

180

112    132

31312

31312

 

31312

 

160

60x130x33,5

60x130x33,5

60x80x10

60x130x33,5

60x75x9

Технические характеристики RT/MRT

Эскиз червячного колеса с подшипниками и масляным уплотнением

тип

12

12A

11

28

6005

7005

 

25x47x12

25x47x12

25x40x7

40

6006

32006

 

30x55x13

30x55x17

30x47x7

50

6007

32007

 

35x62x14

35x62x18

35x50x7

60

6008

32008

 

40x68x15

40x68x19

35x50x7

70

6009

32009

 

45x75x16

45x75x20

45x60x8

80

6010

32010

 

50x80x16

50x80x2

50x65x8

100

6011

32011

 

55x90x18

50x90x23

55x72x10

120

6013

32013

 

65x100x18

65x100x23

65x85x12

150

6216

30216

 

80x140x26

80x140x28,25

80x100x10

180

6218

32218

 

90x160x30

90x160x42,5

90x110x12

К общему описанию